一、項目名稱
官渡14號路新建工程可行性研究報告
二、獲獎名稱
云南省工程咨詢行業科技成果一等獎

三、項目簡介
工程起于盤龍江,止于肖家營,道路全長10229.818米,其中盤龍江—古滇立交段道路紅線寬度50米;古滇立交—肖家營段道路紅線寬60米。
官渡14號路新建工程位于廣福路和南連接線之間,為昆明市西北—東南方向的主干路,官渡14號路新建工程的建設可以有效的緩解廣福路的交通壓力,完善片區路網結構,完善區內市政管網,提升城市綜合承載能力,拉動片區的開發建設。
項目總投資為584055.06萬元,其中:建筑安裝工程費328390.64萬元,工程拆遷征地費用170576.78萬元,工程建設其他費30674.53萬元,工程預備費31778.52萬元,建設期貸款利息22634.60萬元。

區位圖

50m道路標準橫斷面

60m道路標準橫斷面

道路鳥瞰效果圖
四、項目亮點
(1)巫家壩路~昌宏路節點道路紅線范圍內地下空間開發
為節省造價,同時兼顧利用結構空腔,考慮對下穿暗埋段頂部的空腔開發為地下空間。

斷面圖
(2)橋梁與下穿基礎共用
跨海河橋梁與下穿隧道基礎共用采用有限元分析軟件Midas進行受力分析,并采用樁基共用,下穿作為跨海河橋梁的擴大基礎。


斷面圖
(3)車庫與下穿隧道基礎共用
車庫與下穿隧道基礎共用采用有限元分析軟件Midas進行受力分析,并采用樁基共用,下穿作為車庫的擴大基礎。

斷面圖

軟件計算
(4)監控中心共用
結合本工程為PPP項目,后期項目的運營、管理、維護由SPV公司全部負責,為便于管理,將綜合管廊監控中心與地下道路監控中心、地下車庫監控中心三者合建。節省投資的同時,實現資源的有效整合。

布置示意圖
(5)BIM的應用
地下道路的設計將結合BIM進行沖突分析與設計。

BIM軟件分析
(6)特殊路基處理
根據周邊地質資料,道路沿線可能出現的不良地質主要表現為大范圍軟土。參考周邊多個類似工程的建設經驗工程,官渡14號路軟基處理將結合具體的地勘情況采用CFG樁或片石換填。

示意圖
(7)綠化
綠化注重景色季相變化,按照“春夏秋冬”四段布景。春—“綠意盎然”;夏—“藍花盈盈”;秋—“姹紫嫣紅”;冬—“粉妝玉砌”。


綠化春夏秋冬布置圖
(8)云秀路交叉口設計方案
采用直行雙向6車道跨越云秀路、新寶象河及官渡278號路,地面輔道與云秀路及278號路平面交叉,同時設置非機動車與人行專用慢行系統橋梁跨越新寶象河的綜合交叉口設計方案。
海河橋分三幅進行設計,為3-20m鋼筋混凝土板拱橋。上部為鋼筋混凝土板拱,主拱跨徑20m,矢高5m,矢跨比1/4,下部構造為矩形實體墩、U形臺。橋梁墩臺支撐于下部通道頂,通道底部采用樁基礎。橋梁全長76m。


效果圖
(9)新寶象河慢行系統橋
設置慢行系統專用橋。


效果圖
(10)下穿南連接線
按規劃在官渡14號路與南連接線交叉處建設互通立交。

效果圖
(11)下穿南連接線U型槽設計
項目與南繞城高速相交節點附近地下水位較高(約1887.26m),而南繞城高速公路兩側現狀地面標高在1889.28~1890.30之間,為保證下穿段路基結構穩定,該段設置U型槽。

斷面圖
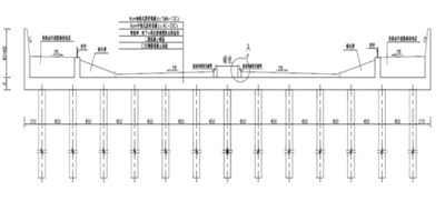
(12)官渡14號路連續下穿巫家壩路、海河、官渡主4、支237、昌宏路—全暗埋
官渡14號路連續下穿巫家壩路、海河、主4、支237、昌宏路,暗埋段長度979.14m(紅線與規劃紅線一致)。


布置示意圖


斷面圖
(13)地下空間開發
官渡14號路需連續下穿巫家壩路、海河、官渡主4號路、支237號路、昌宏路,該節點全長為1530米。連續下穿節點進行地下空間的開發利用,建設地下停車場等設施。

平面示意圖
(14)基坑支護
本次綜合地下通道基坑開挖深度在12~14.5米m。支護方式采用鋼筋砼樁,樁間采用高壓旋噴樁擋土兼止水,支護樁外側設一排止水樁,卸載平臺7米,采用兩道鋼筋砼支撐,支撐間距與樁基相同,靠管廊一側采用SMW工法樁。


示意圖